快科技12月19日消息,宝马近期获得一项新型防篡改螺丝专利,该设计采用独特的异形凹槽结构,只有使用宝马官方授权的专用工具才能正常拆装,普通通用工具 (如十字螺丝刀、六角扳手等) 无法操作。
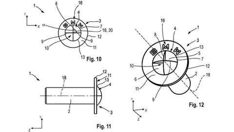
专利显示,螺丝头部采用特殊几何形状,与市场上任何通用工具都不匹配,部分版本采用内梅花结构,通过对梅花齿形进行精确微调,形成每辆车独一无二的防盗机制。
同时还采用创新的逆向锁定原理,使螺丝在安装后形成“自锁”状态,进一步增加非法拆卸难度,当使用非专用工具尝试拆卸时,反而会使螺丝更加紧固。
这些螺丝主要用在车轮轮毂(防盗)、发动机关键部件(如可变气门正时系统,防止非法改装或替换零部件)以及车身关键连接点(保护车辆重要结构的完整性和安全性)等处。
专利明确指出,这种设计旨在建立物理壁垒,有效“防止使用普通反驱动结构松开或拧紧螺丝”,将维修权限牢牢锁定在宝马授权经销商体系内。
对于车主而言,新专利无疑有利有弊,除了确实可以防盗以及保证零部件的质量外,也会带来诸多不便。
这意外着车主只能在宝马授权4S店或服务中心进行维修,工时费普遍高于第三方修理厂工具管理;若行驶中轮胎突然爆胎,无专用工具将无法自行更换备胎,需依赖救援服务。
The End

